/
/
  • Nombre del producto
  • Palabras clave
  • Modelo de producto
  • Resumen del producto
  • Descripción del producto
  • Búsqueda de texto completo
Usted está aquí: Casa » Noticias » Noticias » ¿Qué son las tuercas de soldadura?

¿Qué son las tuercas de soldadura?

Vistas:0     Autor:Editor del sitio     Hora de publicación: 2018-05-10      Origen:Sitio

loswelding nut es una tuerca adecuada para soldar fuera de la tuerca. Por lo general, está hecho de materiales soldables y es adecuado para la soldadura. La soldadura es equivalente a dos partes separadas en un todo, con una fusión de metal a alta temperatura y enfriamiento, en el medio se unirá la aleación, interna es una función de la fuerza molecular, la intensidad es generalmente mayor que la fuerza materna. La prueba de los parámetros de soldadura se basará en el tamaño de fusión de la soldadura y ajustará los parámetros de soldadura según el tamaño de fusión hasta que se eliminen los defectos. Por supuesto, la calidad de la soldadura está relacionada con el tratamiento previo a la soldadura, la limpieza de la ceniza, la mancha de aceite, etc. Las tuercas de soldadura se fabrican con una mayor cantidad de material que otras tuercas para que la tuerca; La forma s se mantiene después de ser soldada a otro objeto.

square weld nut ss304

Ingeniero de fabricación

Es el material de las piezas de trabajo de soldadura (iguales o diferentes), por calor o presión o ambos y, con o sin materiales de relleno, y hace que el material de la pieza de trabajo y para formar una conexión permanente entre los procesos atómicos,welded nuts son sujetadores con roscas internas y se usan con pernos. Una pieza mecánica que tiene roscas internas y se utiliza junto con un tornillo para transmitir movimiento o potencia.

Diseños de tuercas de soldadura

Los diseños de tuercas de soldadura se basan en el tamaño, la forma, el grosor y la configuración. Estos sujetadores industriales están soldados a otra pieza de metal y pueden unir huecos o uniones. Una tuerca de soldadura puede usarse en áreas de espacio restringido o limitado. loshex weld nut el diseño es ideal para aplicaciones de servicio pesado, mientras que una tuerca de lengüeta se utiliza generalmente para trabajos más ligeros. Una tuerca de soldadura en ángulo recto se une al material original y crea un orificio roscado vertical al material base.


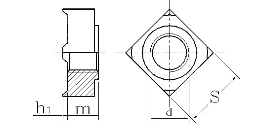
Tabla de tamaño de la tuerca de soldadura

tuerca de soldadura

re PAG h1 metro S
máximo min
M4 0.7 0.7 0.5 3.5 7
M5 0.8 0.9 0.7 4.2 9
M6 1 0.9 0.7 5 10
M7 1 0.9 0.7 5.5 11
M8 1 / 1.25 1.1 0.9 6.5 14
M10 1 / 1.25 / 1.5 1.3 1.1 8 17
M12 1.25 / 1.5 / 1.75 1.5 1.3 9.5 19
M14 1.5 / 2 1.5 1.3 11 22
M16 1.5 / 2 1.7 1.5 13 24

categoria de producto

Noticias relacionadas

Contacto

ENVIAR MENSAJE _

Puede contactarnos a través del siguiente formulario, le responderemos lo antes posible.
Contacto

SUSCRIPCIÓN DE CORREO _

Puede contactarnos a través del siguiente formulario, le responderemos lo antes posible.

CONTÁCTENOS _

Tel: + 86-0573-82869272
Email:michael@cngoshen.com
Dirección: Edificio No.15, Piso 6, Inteligencia Jiaxing & Parque de la innovación, Zhejiang, China
Copyright y copia; Jiaxing Goshen Hardware Co Ltd. Todos los derechos reservados.Site map.